GSV1172_MIPI转DP1.2/HDMI1.4,带MCU
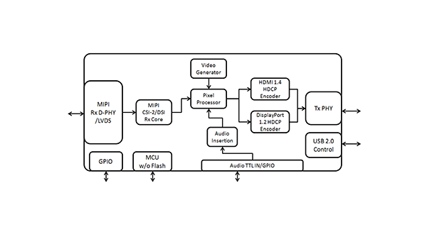
Gscoolink GSV1172是一款高性能、低功耗的MIPI D-PHY CSI-2/DSI和LVDS VESA/JEIDA到DisplayPort 1.2/HDMI1.4转换器。
  • 数据速率高达9Gbps(TMDS 3Gbps/3通道)
  • 支持可变刷新率(VRR)、FreeSync、G-Sync
  • 支持高动态范围(HDR)和动态/静态元数据
详细内容
Gscoolink GSV1172是一款高性能、低功耗的MIPI D-PHY CSI-2/DSI和LVDSVESA/JEIDA到DisplayPort 1.2/HDMI1.4转换器。采用单端口MIPI接口,4K30 RGB可以使用单端口MIPI接口传输。适用于LVDS VESA/JEIDA接口,1080p60 RGB可以使用单端口LVDS接口传输。

GSV1172集成了增强型微控制器,创造了一种经济高效的解决方案,DisplayPort发射器最多支持21.6Gbps(HBR2,4通道),HDMI发射器支持高达9Gbps(TMDS,3G/3通道)。

GSV1172使用QFN64封装,针对低功耗嵌入式应用。GSV1172支持HDCP 1.4,用于HDMI/DisplayPort输出,支持HDMI/DisplayPort Tx的音频插入。